udp是用户数据包协议,是OSI参考模型中一种无连接的传输层协议,提供面向事务的简单不可靠信息传送服务。UDP用来支持那些需要在计算机之间传输数据的网络应用;包括网络视频会议系统在......
2022-05-07 282 udp协议
公司刚买了一套无线覆盖设备,TP-link AC300无线控制器,一个POE交换机,5个AP,那该调如何调试呢?
公司已经有主路由器了,使用的是H3C的防火墙。
现在如何将AC控制器和5个AP,接入到现网当中呢?
实施过程
设备物理线路连接完成之后,开始设备调试。
1、AC控制器调试,默认AC控制器IP地址是192.168.1.253,用户名和密码都是admin 。
将接口IP地址,更改为内部IP地址。
2、设置开启AC控制器的DHCP服务,开启的DHCP服务,可以专为AP提供IP地址分配,也可调试成同时给AP和客户端(手机电脑终端设备)分配IP地址。在这里,因为有H3C的防火墙为终端设备提供DHCP服务了,这里就设置仅为AP分配,然后配置,开始地址和结束地址。这里的IP地址范围,要是H3C防火墙内部可以上网的IP地址,不可以随便设置。
3、当AP连接成功后,可以看到已为AP分配的IP地址。
4、AP管理,AP设置中,选择分组统计信息。
5、在这里,可以给每个AP标注不同的名称,来方便后期维护。
6、无线管理中,找到无线服务,选择新增,这里的新增就是要开始设置无线信号和密码。
7、设置无线信号 SSID名称(终端搜索出来的无线名称)和加密码方式,及无线密码设置。在AC100中设置的无线名称的时候,可以直接选择绑定的AP,但是AC300的设置就不一样了。那如何将设置好的无线名称绑定到这5个AP上呢?
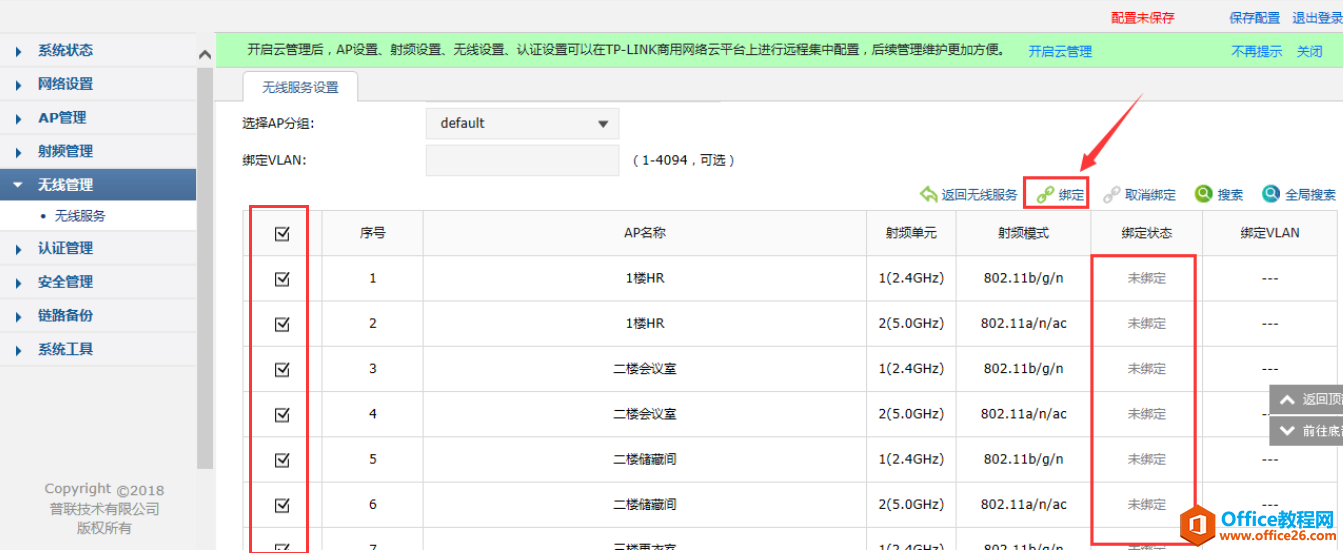
8、将设置好的SSID绑定到5个AP上,就需要使用到射频绑定。如果不做射频绑定操作,你虽说设置好了无线名称和密码,但这个无线名称只是保存在AC300控制器中,没有设置到5个AP上。如果不做射频绑定,使用终端设备去搜索无线信号,是搜索不到刚才设置的SSID信号的,必须要将SSID通过射频绑定到5个AP后,终端设备才可以搜索到刚才设置的无线信号。
9、可以看到无线信号没有绑定到任何AP上,勾选全部设备,2.4G和5G都勾选,然后选择右上角的,绑定。
10、可以看到如下图所示,所以AP都已经被绑定了。
11、在射频设置中,也可以看到绑定了多少个AP。
12、设置完成后,保存配置。
13、如果觉得AP灯亮着不舒服,还可以将AP的指示灯关闭。
结果测试
这时终端设备,可以拿出来搜索无线信号了,输入密码即可连接到无线网。
可以看到哪片区域,有多少个终端设备连接。

相关文章